替代进口SPD
电涌保护器(SPD)的技术参数选择应根据建筑物雷电防护等级以及安装位置来确定,具体分析如下:
1、由室外低压电源引入的总配电箱、变电所低压母线应安装Ⅰ级SPD。

根据建筑物电子信息系统雷电防护等级SPD技术参数如下:
A:Iimp≥20kA,Up≤2.5kV
B:Iimp≥15kA,Up≤2.5kV
C:Iimp≥12.5kA,Up≤2.5kV
D:Iimp≥12.5kA,Up≤2.5kV
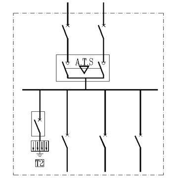
1、屋面正压送风机、排烟机双电源互投配电控制箱SPD应安装在A.T.S的进线端;屋面风机、冷却塔、泛光照明、配电箱SPD应安装在总开关的进线端。

根据建筑物电子信息系统雷电防护等级SPD技术参数如下:
A:In≥80kA,Up≤2.5kV
B:In≥60kA,Up≤2.5kV
C:In≥50kA,Up≤2.5kV
D:In≥50kA,Up≤2.5kV
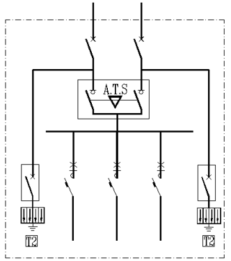
1、消控中心、弱电机房、信息中心等室内双电源互投配电箱SPD安装在A、T、S开关的出线端。

根据建筑物电子信息系统雷电防护等级SPD技术参数如下:
A:In≥5kA,Up≤1.5kV
B:In≥5kA,Up≤1.5kV
C:In≥3kA,Up≤1.5kV
D:In≥3kA,Up≤1.5kV
1、信息机房等精密空调室外机有可能受到直击雷或侧击雷的,其配电箱SPD应安装在A.T.S的进线端。

根据建筑物电子信息系统雷电防护等级SPD技术参数如下:
A:In≥40kA,Up≤2.5kV
B:In≥30kA,Up≤2.5kV
C:In≥20kA,Up≤2.5kV
D:In≥10kA,Up≤2.5kV
易造科技生产的浪涌保护器(SPD)EPO-20AL、ET-100BL、EPO80BL、EPO-40CL等系列产品, 结构坚固,拥有超高的过电压耐受能力,雷电流畅通无阻,设备防雷持续有效,广泛用于通信,地铁,轨道,建筑行业,机场等各个行业领域。
微信咨询
官方公众号