替代进口SPD
浪涌保护器能够及时地将侵入电力系统的雷电浪涌及时泄放掉,使整个线路的电位保持一致,所以也有人叫它等电位连接器。但是有些用户购买了浪涌保护器后,却碰到那么一个问题:我应该将浪涌保护器安装在配电箱内的什么位置呢?今天,小编就来给您讲讲浪涌保护器在配电箱内的安装问题。
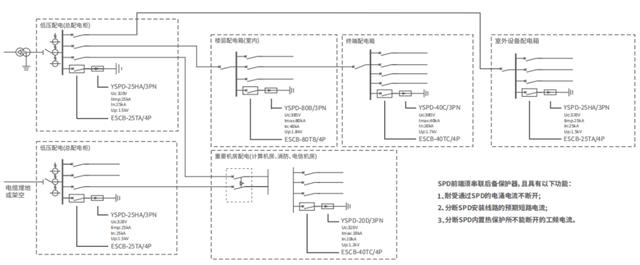
配电箱通常配有空气开关来控制电源对负载的供电,通常情况下,除了进线总空开,还会在后续负载支路上配分空开。
因此,根据安装情况和供电情况,我们可以将空开的两端分为电源侧和负载侧。顾名思义,如果空开的一侧接的电源那就是电源侧,如果接负载那就是负载侧。对于总空开来说,它的两侧都没有直接连接负载,因此都是电源侧,而分空开则不同,有电源侧和负载侧。

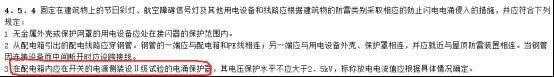
了解了电源侧和负载侧后,下面我们来了解浪涌保护器在配电箱内的安装问题。GB50057的4.5.4中明确规定,浪涌保护器应当安装在开关的电源侧,因此通常情况下,我们可以选择安装在进线总空开的前端或后端。但是实际安装还要根据现场具体情况而定,比如配电箱内没有装分空开或其他特殊情况,那样总空开的前端是电源侧,后端就是负载侧。

例如易造的一位客户,在设计小区内节日彩灯输电线路配电箱方案时,遇到了特殊情况:小区的节日彩灯虽然有配分空开,但是平时不经常去用,大部分时间处于断开状态,只在一些特殊的节日才开启。

对于这种情况而言,主空开就成了配电箱的**开关。那样主空开的左侧就是电源侧,右侧就是负载侧,因此浪涌保护器就需要安装在主空开左侧的进线端了。

以上的情况,您有碰到过吗?总之,不论哪种情况,只需了解电源侧和负载侧如何区分,并遵循国标对浪涌保护器安装位置的规定,浪涌保护器安装在配电箱内什么位置的问题就能迎刃而解了。
-End-
微信咨询
官方公众号
